ఆపిల్ భవిష్యత్ ఆపిల్ వాచ్ మోడల్లకు కెమెరాను జోడించగలదు

Apple తరచుగా తన ఉత్పత్తులకు ప్రత్యేకమైన పేటెంట్లను ఫైల్ చేస్తుంది ఐఫోన్లు, మ్యాక్బుక్స్మరియు దాని అత్యంత-అంచనా ఎలక్ట్రిక్ కారు కూడా, మరియు వారు పగటి వెలుగును చూడకపోయినా లేదా చూడకపోయినా, వారు సరదాగా (కనీసం కాగితంపై) ధ్వనిస్తారు. టెక్ దిగ్గజం ఇప్పుడు ఇటీవలి పేటెంట్ను దాఖలు చేసింది, ఇది ఆపిల్ వాచ్లో కెమెరాను ఏకీకృతం చేయాలనే లక్ష్యంతో ఉంది. ఇప్పుడే దిగువ వివరాలను తనిఖీ చేయండి!
Apple వాచ్ కోసం అంతర్నిర్మిత కెమెరా కోసం Apple పేటెంట్లు
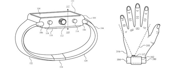
ఆపిల్ ఇటీవల మంజూరు చేయబడింది పేటెంట్శీర్షికతో “కెమెరా కలిగి ఉండటం చూడండి” US పేటెంట్ మరియు ట్రేడ్ మార్క్ ఆఫీస్ (USPTO) ద్వారా పేటెంట్లో, వేరు చేయగలిగిన హౌసింగ్ని ఉపయోగించడం ద్వారా లేదా కెమెరా లెన్స్ను Apple వాచ్లో ఉన్న డిజిటల్ క్రౌన్లో అమర్చడం ద్వారా Apple వాచ్లో కెమెరాను ఏకీకృతం చేసే మార్గాన్ని కంపెనీ వివరిస్తుంది.
“గడియారం ముందు వైపు, వెనుక వైపు మరియు వాచ్ బ్యాండ్కి జంటగా కాన్ఫిగర్ చేయబడిన అటాచ్మెంట్ ఇంటర్ఫేస్ని కలిగి ఉండే గృహాన్ని కలిగి ఉంటుంది. హౌసింగ్కు కెమెరాను అమర్చవచ్చు మరియు హౌసింగ్ వెనుక భాగంలో దృశ్యాన్ని చిత్రీకరించడానికి కాన్ఫిగర్ చేయవచ్చు. హౌసింగ్ ముందు భాగంలో డిస్ప్లే కనిపిస్తుంది మరియు చిత్రాన్ని ప్రదర్శించడానికి కాన్ఫిగర్ చేయబడుతుంది,” అని పేటెంట్ చదువుతుంది.
పై ప్రతిపాదనలో, ఆపిల్ చెప్పింది మీరు మీ గడియారాన్ని తీసివేసి, చిత్రాన్ని తీయడానికి దాన్ని దృశ్యం వైపు చూపగలరు వాచ్ వెనుక వైపు ద్వారా. అయినప్పటికీ, ఇది చాలా పని అవుతుంది మరియు చాలా మంది వినియోగదారులు తమ ఆపిల్ వాచ్తో దృశ్యాన్ని సంగ్రహించడానికి సరైన క్షణాన్ని కోల్పోవచ్చు.
మరో ప్రతిపాదనలో, ఆపిల్ వాచ్ యొక్క డిజిటల్ క్రౌన్లో కెమెరా లెన్స్ను అనుసంధానించవచ్చని ఆపిల్ సూచిస్తుంది మరియు దాని ప్రదర్శనను వ్యూఫైండర్గా ఉపయోగించండి. డిజైన్తో సాధ్యమయ్యే సమస్యలకు పేటెంట్ పరిష్కారాలను అందించనప్పటికీ. ఇది Apple వాచ్లో కెమెరాను ఏకీకృతం చేసే మార్గాలపై మాత్రమే దృష్టి పెడుతుంది.

“[A] వాచ్లో డిజిటల్ ఇన్పుట్ల కోసం ఉపయోగించే తిప్పగలిగే కిరీటం వంటి రొటేటబుల్ డయల్ ఉంటుంది. డయల్ ద్వారా విస్తరించి ఉన్న ఎపర్చరు ద్వారా చిత్రాలను తీయడానికి వీలుగా ఒక కెమెరాను అసెంబ్లీలో చేర్చవచ్చు. పేటెంట్ మరింత చదవబడుతుంది.
పేటెంట్ కూడా కెమెరా ఫ్లాష్ని “శారీరక సెన్సింగ్” గడియారం మణికట్టు మీద వేసుకున్నప్పుడు. అదనంగా, ఆపిల్ వాచ్లోని ఇమేజ్ సెన్సార్ బహుళ ప్రయోజనాలను అందించగలదని ఆపిల్ తెలిపింది చిత్రాన్ని ప్రాసెస్ చేయడం మరియు గుర్తించడం వంటివి “రొటేషనల్ ఇన్పుట్లను సెన్సింగ్ చేయడానికి డయల్ యొక్క రొటేషన్.” ఏదేమైనప్పటికీ, డిజిటల్ క్రౌన్లో కెమెరా లెన్స్ను అమర్చడం అనేది ఇప్పటికే సంక్లిష్టమైన కిరీటం యొక్క మెకానిక్లను పరిగణనలోకి తీసుకుంటే చాలా కష్టంగా ఉంటుందని గమనించాలి.
అంతేకాకుండా, Apple అంతర్నిర్మిత కెమెరాతో Apple Watch మోడల్ను పరిశీలిస్తున్నట్లయితే, అది సాంకేతికత యొక్క గోప్యతా సమస్యలపై దృష్టి పెట్టాలి. వినియోగదారులకు తెలియకుండానే వ్యక్తుల చిత్రాలను క్యాప్చర్ చేయడానికి ఆపిల్ వాచ్ కెమెరాను ఉపయోగించడం దీనికి కారణం.
అయినప్పటికీ, ఇది మేము మాట్లాడుతున్న ఆపిల్ పేటెంట్ అయినందున, ఇది ఎప్పుడైనా త్వరలో వెలుగులోకి రాకపోవచ్చు. యాపిల్ తన ఆపిల్ వాచ్ మోడల్లలో సాంకేతికతను అనుసంధానించడానికి చాలా సంవత్సరాలు పట్టవచ్చు. కాబట్టి, మీరు ఈ సమాచారాన్ని చిటికెడు ఉప్పుతో తీసుకొని, దిగువ వ్యాఖ్యలలో మీ ఆలోచనలను మాకు తెలియజేయమని మేము సూచిస్తున్నాము.
ఒకవేళ మీరు Apple వాచ్లో కెమెరా ఆలోచనను ఇష్టపడితే, ఇప్పటికే కెమెరా-ఇంటిగ్రేటెడ్ Apple Watch బ్యాండ్ ఉందని మీరు తెలుసుకోవాలి, రిస్ట్క్యామ్ అని పేరు పెట్టారు, వినియోగదారులు తమ Apple వాచ్తో ఫోటోలు తీయడానికి అనుమతించే మార్కెట్లో అందుబాటులో ఉంది. ఇది కూడా Apple వాచ్లో వీడియో కాల్లకు మద్దతు ఇచ్చే సామర్థ్యాన్ని పొందింది ఈ సంవత్సరం మొదట్లొ!
Source link




